尺寸・CAD
单位 : mm
| 型号 | 容许拉伸载荷 (kN) |
M(粗牙) | D | d | B | H | H' | h1 | h2 | 质量 (g) |
CAD下载 |
|---|---|---|---|---|---|---|---|---|---|---|---|
| SQN-M10 | 79 | M10 | - | 19 | 24 | 25.5 | 37.5 | 22 | 3.5 | 69 | - |
| SQN-M12 | 137 | M12 | - | 19 | 24 | 25.5 | 37.5 | 22 | 3.5 | 64 | - |
| SQN-M16 | 130 | M16 | 35 | 28 | 27 | 23 | 36 | 10 | 3 | 100 | - |
| SQN-M20 | 203 | M20 | 42 | 35 | 34 | 29 | 45 | 12 | 3.5 | 177 | - |
| SQN-M24 | 293 | M24 | 50 | 42 | 41 | 35 | 54 | 15 | 4 | 312 | - |
材质、表面处理
| SQN | |
|---|---|
| 主体 | 铬钼钢 三价铬酸盐处理 |
| 销 | SUS316 |
特点
- 可快速紧固长螺纹。
安装方法
- 从螺纹部使外侧的弹性间隔体滑动,在此状态下,将SQN移动到紧固位置,以使螺纹部侧成为连接面,然后向轴向按压弹性间隔体,固定位置。
- 紧固SQN。(最大1/2圈)

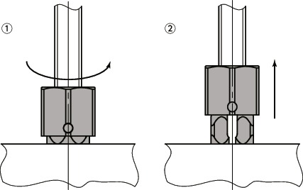
拆卸方法
- 松动SQN。
- 抬起外侧的弹性间隔体,拆下SQN。









