单位 : mm
| 型号 | M(粗牙) 螺纹公称直径 |
螺距 | L | D1 | L1 | B | t | 最大紧固扭矩 (N・m)*1 | 毎包数量 | 质量 (g) |
CAD下载 | 请求报价 |
|---|---|---|---|---|---|---|---|---|---|---|---|---|
| SSHS-M2-6-SD | M2 | 0.4 | 6 | 3.2 | 1.1 | 1.3 | 1.2 | 0.18 | 10 | 0.11 | CAD | 请求报价 |
*1: 螺纹主体的最大紧固扭矩。请参考使用注意事项,在确定扭矩时考虑座面压力。表中数值仅供参考,并非保证值。
●数量未满1包的订单,会另外收取手续费。详情请垂询散装零售服务。
相关服务
材质、表面处理
| SSH-SD | SSH-SD-EL | SSHS-SD | |
|---|---|---|---|
| 主体 | SCM435 四氧化三铁保护膜(黑) |
SCM435 无电解镀镍 |
SUSXM7 (相当于SUS304) |
| 强度 等级 |
螺纹部:10.9 头部*1: 5.8(M3-M8) 4.8(M10) |
螺纹部:10.9 头部*1: 5.8(M3-M8) 4.8(M10) |
A2-50 |
*1: 请勿超出最大紧固扭矩。虽然经过热处理提高了强度,但与螺纹部相比,头部的强度仍较小。
用途
设备、装置的省空间化特点
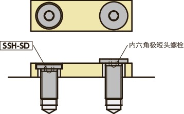
- 头部直径较小的内六角极短头螺栓。可形成比普通的内六角极短头螺栓更小的锪孔直径。
使用例
还能对普通的内六角极短头螺栓未能进行锪孔加工的部位进行锪孔加工,从而可以隐藏头部。

使用注意事项
- 头部底座面的面积小,底座面压力高。
- 请参考以下公式,注意不要让由螺丝紧固而形成的底座面压力超出被紧固材料的容许表面压力。

头部直径和螺丝有效截面积
| 型号 | 头部直径(mm) | 螺丝有效截面积(mm2) |
|---|---|---|
| SSH-M3-SD | 5 | 5.03 |
| SSH-M4-SD | 6 | 8.78 |
| SSH-M5-SD | 8 | 14.2 |
| SSH-M6-SD | 9 | 20.1 |
| SSH-M8-SD | 11 | 36.6 |
| SSH-M10-SD | 13.5 | 58 |



