公布日期:2018年11月29日
组装联轴器与单轴引动器时的轴插入量
使用NBK网站的选型指南求出时
可在NBK网站中使用选型指南求出轴插入量。
从右边的下拉列表中选择引动器的厂家与型号、马达的厂家与型号。
![]()
根据选型结果选择要使用的联轴器。
![]()
产品详情页面中的S1、S2为轴插入量尺寸。
![]()
通过计算求出时
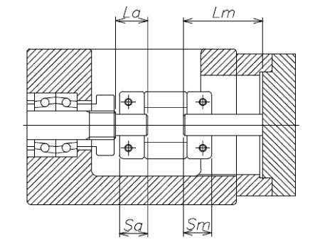
1. 求出两轴间的距离
根据要使用的引动器与马达的产品目录等求出两轴的长度La・Lm以及组装时的两轴间距离B。
![]()
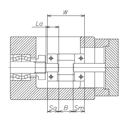
2. 求出临时轴插入量
确认联轴器全长W,根据条件式①求出马达侧与引动器侧的临时轴插入量S0。
S0=(W–B)/2 ・・・①
确认引动器侧与马达侧的轴长度La・Lm比临时轴插入量S0长1mm以上。
(条件式②③)
S0+1≦Lm ・・・②
S0+1≦La ・・・③
![]()
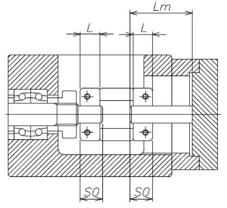
3. 求出轴插入量
求出引动器侧与马达侧的轴插入量Sa・Sm。
A. 同时满足条件式②③时
确认S0为联轴器轴套长度L的70%以上(条件式④)。S0≧L×0.7 ・・・④
未满足条件式④时,需要重新选择联轴器。
S0为引动器与马达侧的轴插入量Sa・Sm。
Sa=S0
Sm=S0・・・⑤
B. 未同时满足条件式②③时
需要重新选择联轴器。C. 未满足条件式②时
(马达侧的轴长度Lm比临时轴插入量S0+1mm短时)
确认马达侧的轴长度Lm比联轴器轴套长度L的70%长1mm以上(条件式⑥)。Lm≧L×0.7+1 ・・・⑥
未满足条件式⑥时,需要重新选择联轴器。
根据条件式⑦求出马达侧的插入量Sm。
Sm=Lm–1 ・・・⑦
引动器侧的轴插入量Sa为条件式⑧。
Sa=W–B–Sm・・・⑧
D. 未满足条件式③时
(引动器侧的轴长度La比临时轴插入量S0+1mm短时)
确认引动器侧的轴长度La比联轴器轴套长度L的70%长1mm以上(条件式⑨)。
La≧L×0.7+1 ・・・⑨
未满足条件式⑨时,需要重新选择联轴器。
根据条件式⑩求出引动器侧的插入量Sa。
Sa=La–1 ・・・⑩
马达侧的插入量Sm为条件式⑪。
Sm=W–B–Sa ・・・⑪
4. 确认轴插入量
确认引动器侧与马达侧的轴长度La・Lm比引动器侧与马达侧的轴插入量Sa・Sm还长1mm以上(条件式⑫⑬)。
Sm+1≦Lm ・・・⑫
Sa+1≦La ・・・⑬
未满足条件式⑫⑬时,需要重新选择联轴器。
![]()
※本步骤仅为示例,可能会因引动器或马达的种类而异。
安装方法、维护
其他
机床
半导体生产设备
食品机械
汽车生产工序
医疗机械
FA设备
联轴器
