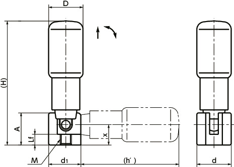
尺寸・CAD
单位 : mm
| 型号 | D | M(粗牙) 螺纹公称直径 |
螺距 | Lf | d | d1 | H | A | h' | x | 质量 (g) |
CAD下载 | 请求报价 |
|---|---|---|---|---|---|---|---|---|---|---|---|---|---|
| GDRS-16-M5 | 16 | M5 | 0.8 | 5 | 16 | 15 | 58 | 15 | 45.5 | 9.5 | 35 | CAD | 请求报价 |
| GDRS-18-M5 | 18 | M5 | 0.8 | 5 | 16 | 15 | 72.5 | 15 | 60 | 9.5 | 41 | CAD | 请求报价 |
| GDRS-22-M6 | 22 | M6 | 1 | 6 | 20 | 18.5 | 80.5 | 19.5 | 65.5 | 10.5 | 80 | CAD | 请求报价 |
| GDRS-24-M6 | 24 | M6 | 1 | 6 | 20 | 18.5 | 95.5 | 19.5 | 80.5 | 10.5 | 90 | CAD | 请求报价 |
| GDRS-25-M6 | 25 | M6 | 1 | 6 | 20 | 18.5 | 105.5 | 19.5 | 90 | 10.5 | 110 | CAD | 请求报价 |
材质、表面处理
| GDRS 螺纹部:不锈钢制 | |
|---|---|
| 握柄部 | 尼龙6(亚光黑) |
| 螺纹部 | SUS303 |
特点
- 采用抬起后放倒的机构。不会意外倾倒。












