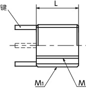
单位 : mm
| 型号 | M 螺纹公称直径 |
螺距 | 粗牙/细牙 | M1 螺纹公称直径 |
螺距 | 粗牙/细牙 | L | 键 数量 | 安装专用工具 | 拆卸钻孔径 | 拆卸深度 | 质量(g) | CAD下载 | 请求报价 |
|---|---|---|---|---|---|---|---|---|---|---|---|---|---|---|
| SHINS-M8-M12 | M8 | 1.25 | 粗牙 | M12 | 1.25 | 细牙 | 12 | 4 | SKK-8 | 9.5 | 5 | 4.8 | CAD | 请求报价 |
相关服务
材质、表面处理
| SHINS | |
|---|---|
| 主体 | SUS303 |
| 键 | SUS302 |
用途
内螺纹的加强、修复设备·装置构造体/一般工业机械
特点
- 这是附带键的内螺纹加强插件。
- 键通过机械方式锁定了旋转,无需担心脱落。
- 由于采用了不锈钢一体型,所以强度高,可使用于强力紧固或螺栓拆装频率较高的部位。
- 最适合轻金属、铸件、树脂等的内螺纹的加强或破损内螺纹的修复。
- 插入时不需要特殊的技术。
- 可对应线圈型插件或特殊表面处理规格等。请垂询客户中心。

安装
- 请将键固定在安装专用工具的孔中,将插件拧入内螺纹。图1
- 从专用工具的孔中拔出键。请在键与专用工具端面接触的状态下,用手压机或锤子等工具将键敲入。图2
- 如果不希望键外露,可以将专用工具翻转,用有滚花加工的一面进行敲击,使键压入直至低于倒角部。图3

拆卸
- 请使用尺寸表所示的指定尺寸的钻头加工到指定深度。图1
- 请将内侧的键折倒并拆除。图2
- 请使用市售的螺栓拆除工具等拆除插件。图3
- 请按照安装方法安装新的插件。图4








