单位 : mm
| 型号 | L | L1 | L2 | A7 | A8 | A9 | A10 | B4 | B5 | B6 | B7 | B8 | B9 | 承受载荷(N/对) 1万次/10万次*1 |
重量*2 (g) |
CAD下载 | 请求报价 |
|---|---|---|---|---|---|---|---|---|---|---|---|---|---|---|---|---|---|
| TSFA-400 | 400 | 375 | 775 | 291.75 | 307.75 | - | - | 161.5 | 177.5 | 187 | 321.5 | 337.5 | 347 | 310 / 190 | 1245 | CAD | 请求报价 |
*1: 滑轨开关一个往复为1次。使用所有安装孔时的参考值。减少固定部位时,承受载荷将减少。
详情请参考技术资料。
*2: 每组2个的质量。材质、表面处理
| TSFA | |
|---|---|
| 主体 | 钢 三价铬酸盐处理 |
| 球轴承 | 钢 淬火 |
| 外球规 | 聚丙烯 |
| 内球规 | 钢 镀锌 |
| 橡胶挡块 | 弹性体 |
| 自关闭&软关闭机构 | 钢 |
| 聚缩醛 尼龙66 |
|
特点
- 三段抽拉式滑轨。
- 行程量大约为全闭时长度(L尺寸)的100%。
- 带用于缓和冲击的橡胶挡块。抑制操作音,防止故障、损坏。
- 带自关闭&软关闭机构。动作条件及详情请确认使用注意事项。

- 可拆卸内滑轨。可轻松安装,组装后拆卸抽出部。

- 在滑轨上将工具孔配置在与安装孔重叠的部分,确保即使滑轨重叠时也能使用工具安装。*1
- 本产品为2个1组。
- 各滑轨可安装在左右任意一侧。
*1: 虽然形状图中只标出安装孔,但可能还会存在其他孔。
用途
抽屉、滑动门、柜子各类工业设备、车辆设备、家具等
安装
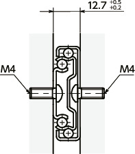
请使用所有外滑轨的安装孔(φ4.2)和内滑轨的安装孔(φ4.5),以获得足够的承受载荷性能。长孔还可用于位置调整。
请对外滑轨的安装孔(φ6.3)使用欧洲螺丝。
安装时请使用以下螺丝。安装方法请确认技术资料。

| 安装用推荐螺丝 | 内滑轨 | 外滑轨 |
|---|---|---|
| 内六角圆头螺栓 | M4 | M4 |
| 十字槽盘头小螺钉 | M4 | M4 |
| 十字槽盘头自攻螺丝 | ST4.2 | ST4.2 |
推荐螺丝强度等级:8.8
使用注意事项
- 请勿以超出最大滑动速度0.3m/s的速度使用,否则可能会导致故障、破损。并且,在关闭时请以0.15m/s以下的速度操作。
- 如果在关闭时施加较大冲击,请另行准备用于吸收冲击的挡块。
- 将内滑轨安装到中间滑轨时,请使内球规移动到开口部前端,然后再安装。
- 自关闭&软关闭机构在距离全闭位置前约47mm处开始工作,并施加约40N(每组)的力。
- 自关闭&软关闭机构设计成最大能容许6万次36kg的冲击。
- 可使用温度为-20℃~100℃。在达到上限、下限温度的环境下,请确认滑轨动作是否正常。
- 使用前,请仔细阅读技术资料中的安全注意事项、使用注意事项,正确、安全地使用。







